 
         
         
        Program
为了更好地满足社区内特殊人群(精神病人)的服务与管理需求,使服务向合理化、人性化、智能化、效率化方向发展,推动管理工作数字化、智能化,结合社区特定人群管理工作的特点,采用国际先进的室外定位技术以及移动位置服务技术、大数据分析技术和电子地图技术,推出了数字化、智能化、可视化的监管系统。
本系统以定位腕表(防拆+不防拆2种腕表)为核心、以运营商基站作为数据传输并且搭配LBS、Wi-Fi室内辅助定位的人员定位管控系统,配合、PC实现安全管理。
网络框架

如图所示,精神病人员佩戴智能定位腕表,定时更新定位信息、健康监测信息,并将信息通过传输网络传回云平台进行统一管理、分析、统计。相关机构可信息互通共享,实现统一查看人员状态信息,通过权限分配,实时查看本区域的人员定位信息以及报警信息等。
功能设计
移动管理端APP功能
APP主要分为2款,一款是方便管理机构使用的便携式APP,一款是家属方便管理自己家精神病患者的APP(功能主要为:人员定位查看、报警信息查看等),管理APP的具体功能如下:
定位管理
   
   
在APP上可以查看佩戴腕表的精神患者人员的实时定位信息并可主动定位该人员。
即时通信

管理人员可与在管辖范围内的机构内人员或家属即时通信沟通。
人员围栏、在线状态查询
   
    
管理人员可在APP上查询精神患者人员围栏、在线状态等信息。
轨迹回放

管理人员通过APP可查询精神患者人员轨迹信息并进行轨迹回放。
主动定位管理

管理人员可在APP上查询人员位置信息并主动刷新定位信息,可查询设备状态及电量,本项功能的意义主要是因为腕表的定位频率可调,不是实时定位,方便管理人员可及时查看当前位置等信息。
平台系统功能
实时定位

根据人员实时位置环境变化,自动匹配最优定位模式,并实现模式无缝切换,定时上报对象的位置信息,并实时显示腕表、胸卡状态信息,人员健康数据(腕表佩戴者)随时掌控,记录随时查询、安全报警实时通知;结合物联网、智能硬件、传感器技术、数据可视化大屏技术,实现24小时无间断的实时定位及报警。
GLS电子地图:展示人员基本信息、位置信息。
支持北斗、GPS、LBS三重定位方式实时上传位置信息,平台实时展示目标位置。
历史轨迹

轨迹回放:佩戴人员活动轨迹查询、回放,并同步展示历史定位点定位腕表、定位胸卡的状态信息。
管理后台记录佩戴人员所有历史位置信息,管理人员通过分配的权限,使用PC能够详细的查询佩戴人员的历史运动轨迹以及所有定位点的详细状态信息,并对数据做出异常行为统计分析。并通过轨迹回放进行查看佩戴人员在此期间的活动轨迹。
管理后台支持对设备半年内定位数据进行查询并进行轨迹回放,并展示设备电量、设备状态、心率等数据记录
SOS紧急报警
腕表、胸卡具备一键求助功能(主动求助),佩戴人员可通过SOS求助报警按钮,及时向相关机构发出求助信号以及位置信息。
电子围栏

管理后台支持设置通过行政区域及自定义绘制方式设置可活动围栏及禁止进入电子围栏;支持设备电子围栏越界报警检测;支持电子围栏删除记录查询。
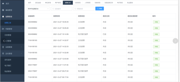
报警信息

管理后台支持对平台设备报警数据记录进行统计查看、查询。
报警监测
设备支持SOS报警、电子围栏越界报警等功能。
定位频率修改

管理后台支持对设备进行定位频率修改,便于管理人员根据不同场景设置不同频率。
设备控制日志
管理平台支持记录设备控制过程记录含发送时间、指令内容、响应内容、发送状态、响应状态。
短信息
管理后台支持对设备推送短消息通知,支持手环触发报警后短信通知用户。
生命体征检测
平台可对前端腕表采集的生命体征数据进行记录。
腕表内置心率健康监测方式,设备获取健康监测信息,然后直接通过网络发送到服务器。
定位腕表拆卸、剪断报警
防拆腕表采用防人机分离设计、腕表支持拆卸、剪断报警,精神患者若强拆或剪断都会进行报警提醒。
分级管理
系统支持分级分权限进行区块化管理,可自定义设定相关单位及管理账号角色的功能操作权限,达到自由控制。
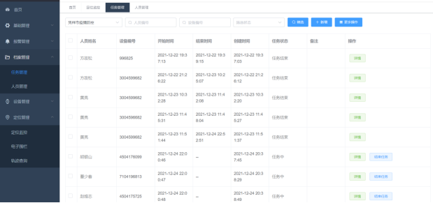
档案管理

平台可对任务进行结束、开启

可通过平台进行人员进行档案创建,将档案信息录入到本平台,作为该佩戴人员的基本信息。